2017年12月29日 国家质量监督检验检疫总局、中国国家标准化管理委员会发布GB/T 35431—2017《信用标准体系总体架构》,并于2018 年 4 月 1 日 实施。
1标准制定背景
GB/T 35431—2017《信用标准体系总体架构》根据国家标准化管理委员会2015年国家标准制、 修订计划的工作安排, 由中国标准化研究院牵头负责组织起草国家标准《信用标准化总体架构》,项目编号为 20151528-T-469。本标准由全国社会信用标准化技术委员会 SAC/TC 470 提出并归口。
2标准主要内容
⑴ 术语
GB/T 20000.1—2014《标准化工作指南第1部分:标准化和相关活动的通用术语》和GB/T 13016—2018《标准体系构建原则和要求》界定的以及下列术语和定义适用于本文件。
1) 标准。通过标准化活动,按照规定的程序经协商一致制定,为各类活动或其结果提供规则、 指南或特性, 供共同使用和重复使用的文件;
2) 信用标准。规定开展信用活动应满足的要求以确保其适用性的标准;
3) 标准化。为了在既定范围内获得最佳秩序,促进共同效益,对现实问题或潜在问题确立共同使用和重复使用的条款以及编制、发布和应用文件的活动;
4) 标准体系。一定范围内的标准按其内在联系形成的科学的有机整体。
(2)基本原则
GB/T 35431—2017依据《社会信用体系建设规划纲要(2014年~2020年)》提出的以政务诚信、商务诚信、社会诚信和司法公信为社会信用标准体系建设的主要内容,构建社会信用标准体系框架, 按照信用标准化基本原则, 科学性、 系统性和适用性, 将信用标准化总体架构分为基础层、 通用层和专用层。
1) 科学性。 信用标准体系应依据社会信用体系建设的目标和要求 按照信用工作的客观规律构建 体现信用标准化工作的特点和合理性;
2) 系统性。 信用标准体系建设应遵循体系化规则,层次清晰、结构合理、全面成套,避免交叉、重复、不协调甚至矛盾等问题;
3) 适用性。 信用标准体系建设应适合信用工作实际和业务需求 具有实用价值;
4) 可扩展性。信用标准体系建设应对社会信用体系的未来发展进行科学研判,信用标准体系的总体架构能够适应新的需求和新的业态。
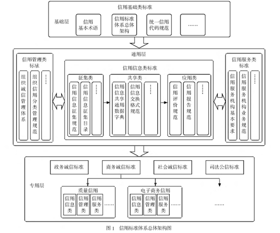
(3)信用标准体系总体架构
1) 总则。根据信用标准体系建设的基本原则, 按照信用标准的基本属性和规范对象,将信用标准体系总体分为基础层、 通用层和专用层。
信用基础层标准是适用于各类信用标准化活动的基础性技术标准, 具有广泛的适用性和指导意义。
信用通用层标准是适用于不同领域、 不同行业信用标准化活动的通用性技术标准, 按照信用标准类别分为信用管理类标准、 信用信息类标准和信用服务类标准。其中,信用信息类标准依据信用信息的征集、 共享、 应用的管理
流程进行划分。
信用专用层标准是面向不同领域、 不同行业信用标准化应用需求的专用性技术标准, 具有信用领域或行业特点,总体包括政务诚信、商务诚信、 社会诚信和司法公信四个信用领域。
政务诚信是指政务主体在依法行政过程中履行政务承诺的意愿、能力和行为。商务诚信是指市场主体在市场活动中履行商务承诺的意愿、能力和行为。社会诚信是指参与社会活动的所有社会主体的诚信。司法公信是司法机关
依据自身对法律和事实的忠实而获得社会公众信任的能力。
2)总体架构图
信用标准体系总体架构图如图1所示。

3)应用规范
每一类信用标准的编制应在遵循信用标准体系总体架构的基础上,按照信用标准体系建设的基本原则,协调一致、相互配合。其中,总体架构中专用层信用标准的编制,应以信用标准体系总体架构为依据, 结合各领域的发展实际和信用标准的业务需求开展。
